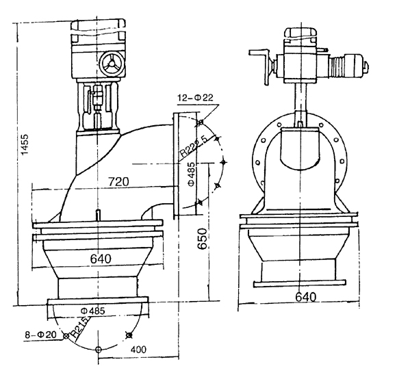
電動放風閥
電動放風閥構造上特殊地方是可以進行遠距離操縱的電動驅動。移動放風閥瓣的大小,電動放風閥能方便地改變風量的大小,通過放風閥上的自動位置反饋輸出信號。用DFD-09電動操作器顯示閥門開度的大小。只要控制電動操作器,即可達到所需風量。
閥體公稱直徑:Φ
主閥座直徑:Φ350,行程
執行器型號:DKZ-510,行程:
全程時間62S。電源:220V50HZ。功率:360W。

上一頁:[閥門]
下一頁:XG系列旋轉加料器
電動放風閥構造上特殊地方是可以進行遠距離操縱的電動驅動。移動放風閥瓣的大小,電動放風閥能方便地改變風量的大小,通過放風閥上的自動位置反饋輸出信號。用DFD-09電動操作器顯示閥門開度的大小。只要控制電動操作器,即可達到所需風量。
閥體公稱直徑:Φ
主閥座直徑:Φ350,行程
執行器型號:DKZ-510,行程:
全程時間62S。電源:220V50HZ。功率:360W。
